岩石試料等の微小部分が採取可能なマイクロミル
産業界へのアピールポイント
・岩石試料や化石試料の微小部分の精密分析ができる。
・環境動態解析、地質学や古生物学調査に有効な手法である。
発明の概要
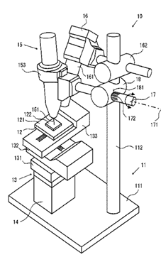
岩石試料や化石試料等の目的とする微小な領域部分を、高い精度で正確に切削し、分析(安定同位体質量分析計、高周波誘導結合プラズマ発光分光分析計等)に供することができるマイクロミルで、下記の構成からなる。
1) 試料載置面121を有するステージ12と、
2) このステージの上方に位置するよう設けられた、ステージの試料載置面に保持された試料を切削する回転切削ドリル15と、
3) ステージおよび回転切削ドリルの両者を離接方向に相対的に移動させる移動機構13と、
4) 切削部位を視覚的に確認できる拡大鏡16とを備えている。
とくに、回転切削ドリルは、その回転軸の試料載置面に対する傾斜角度を調整可能としているので、所望する微小領域試料のみの採取が可能で、所望領域以外の試料混入を防ぐことができる。
図解画像
想定される要素
岩石、化石、各種材料等の微小部分の分析試料採取
関連特許
発明の名称: 試料採取用マイクロミル
共同出願人: 国立大学法人島根大学
出願番号: 特願2005-161011
公開or登録番号: 特許第4608370号
出願日: 2005-06-01
発明者
・坂井 三郎、他2名(共願先所属)
関連リンク
お問い合わせ
海洋機能利用部門 生物地球化学センター 有機分子研究グループ
主任研究員 坂井 三郎 saburos_AT_jamstec.go.jp ( _AT_ を@に)


