岩石試料等の微小部分が採取可能なマイクロミル制御
産業界へのアピールポイント
・岩石試料や化石試料の微小部分の精密分析ができる。
・環境動態解析、地質学や古生物学に有効な手法である。
発明の概要
岩石試料や化石試料等の目的とする微小な領域部分を、高い精度で正確に切削し、分析(安定同位体質量分析計、高周波誘導結合プラズマ発光分光分析計等)に供するため、切削ドリルを目標切削点の位置に正確に位置させることができ、所期の領域部分を切削することができるマイクロミリングシステムとその制御方法で、以下の構成よりなる。
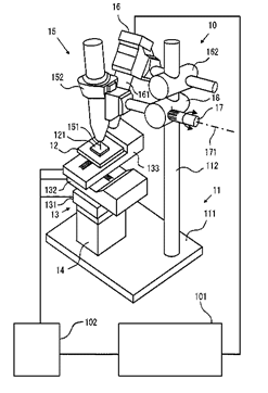
1)ステージ12と、回転切削ドリル15と、移動機構13とを備えるマイクロミル10と試料映像撮影表示機構16を備え、
2)試料映像撮影表示機構が撮像手段と映像表示手段とよりなり、
3)2つの基準点に回転切削ドリルを位置させた時の切削ドリル位置情報と、2つの参照点の参照点位置情報を得、
4)切削ドリル位置情報と、参照点位置情報とより得られる座標変換関数を利用して、第2のX-Y座標系において指定される目標切削点に回転切削ドリルの切削端が位置されるよう移動機構が制御される。
図で、101は各種情報から計算を実行するコンピュータ、102は計算に基づいて制御を行う移動機構制御手段である。以上の制御方法により、目標切削点の試料採取を高い精度で正確に実行することができる。
図解画像
想定される要素
岩石、化石、各種材料等の微小部分の分析試料採取
関連特許
発明の名称: マイクロミリングシステムおよびその制御方法
共同出願人: 国立大学法人島根大学
出願番号: 特願2005-161020
公開or登録番号: 特許第4203860号
出願日: 2005-06-01
発明者
・坂井 三郎、他2名(共願先所属)
関連リンク
お問い合わせ
海洋機能利用部門 生物地球化学センター 有機分子研究グループ
主任研究員 坂井 三郎 saburos_AT_jamstec.go.jp ( _AT_ を@に)


