微粉末を高効率で回収可能な粉粒体回収装置
産業界へのアピールポイント
マイクログラムスケールの微量紛体を確実かつ効率的に回収する
発明の概要
岩石試料または化石試料などの切削対象試料の微小部分をマイクロミルによって切削採取される微量の分析試料は精度良い分析を行うために高い回収率で回収する必要がある。
本装置は回収すべき粉粒体が微量であっても、高い回収率で回収することのできる粉粒体回収装置で、下記構成より成る。
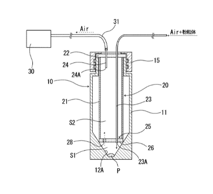
1)回収容器の内部空間が、通気性を有するフィルター28を具えたストッパー部材25によって区画され、粉粒体回収用空間S1と空気吸引用空間S2と2つの空間が形成され、
2)粉粒体回収用空間内において粉粒体吐出口23Aが開口するようストッパー部材を気密に貫通する状態で粉粒体導入管23が設けられ、粉粒体が空気とともに導入され、
3)空気吸引用空間内に空気吸引口24Aが開口するよう排気管24が設けられ、粉粒体回収用空間内に入った空気がフィルターを介して吸引され、
4)その結果、粉粒体回収用空間に導入された粉粒体は、フィルターによって粉粒体回収用空間内に残留し、分離回収される。
図解画像
想定される要素
・化学分析用微量粉末のサンプリング
・化石や岩石の多数の縞状構造ごとに切削された微量粉末の効率的な回収
・地質調査、地質時代研究、古生代等研究
関連特許
発明の名称: 粉粒体回収装置
出願番号: 特願2007-146385
公開or登録番号: 特許第5009688号
出願日: 2007-06-01
発明者
・坂井 三郎
関連リンク
お問い合わせ
海洋機能利用部門 生物地球化学センター 有機分子研究グループ
主任研究員 坂井 三郎 saburos_AT_jamstec.go.jp ( _AT_ を@に)


